Choose the correct answer:
In Six Sigma analysis, the distinction between "common cause of variation" and "special cause of variation" is a key distinction.
In this diagram, which data points are characterized by common cause of variation?

Choose the correct answer:
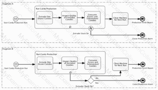
Which statement is true regarding the two diagram fragments?

Choose the correct answer:
A winery notices that its younger consumers—those younger than 30—are buying more Chilean wine. You model this trend as the Business Motivation Model (BMM) element Younger customers buying more Chilean wine.
What is this model element?
Choose the correct answer:
What is the key role of the Finance department in a company?
Choose the correct answer:
Traditional (or functional) work management suffers from what?
Choose the correct answer:
Which statement properly describes the following process?

Choose the correct answer:
Given this process:

which alternative representation will execute identically?

Choose the correct answer:
Which graphic about data objects in BPMN is correct?


Choose the correct answer:
Which factor directly affects the complexity of a process?
Choose the correct answer:
Which process discovery technique obtains a detailed process topology definition?
Choose the correct answer:
Which description of text annotation in BPMN is true?
Choose the correct answer:
A user wants to borrow a book from her public library. At the library, she checks the avallability of the book. If it is available, she borrows it. If it is borrowed by an other user, she reserves the book and borrows it when it is returned by the other user. If the book is available at another location, she orders the book and borrows it when it arrives from the other location.
Which BPMN diagram depicts this process?


Choose the correct answer:
Michael Porter created a strategic thinking framework called Porter's Five Forces.
Which is a set of those forces?
Choose the correct answer:
What is the meaning of an Expanded Sub-Process that lacks Sequence Flows between its Tasks?
Choose the correct answer:
Which statement describes the concept of an End Event in BPMN?
Choose the correct answer:
According to Chang in Business Process Management Systems, which is the key enabler of Business Process Re-engineering (BPR)?
Choose the correct answer:
What is the function of a worklist handler in a BPMS?
Choose the correct answer:
When connecting Flow Objects with Message Flows, which constraint is valid?